推薦產品
聯系我們
企業地址:天津市西青經濟技術開發區賽達國際工業城A3-2
企業郵箱:apastj@163.com
聯系電話:022-87887696
企業傳真:請聯系管理員
企業郵編:300385
咨詢熱線:13622125499(24小時服務)
企業郵箱:apastj@163.com
聯系電話:022-87887696
企業傳真:請聯系管理員
企業郵編:300385
咨詢熱線:13622125499(24小時服務)
| 文件名稱 | 上傳時間 | 操作 |
|---|---|---|
| 鋁型材的型材種類有哪些? | 2021/11/18 | 下載 |
| 擠壓鋁型材的表面封孔處理對產品質量影響有多大 | 2020/07/11 | 下載 |
| 鋁型材有多少種規格型號? | 2020/07/11 | 下載 |
| 鋁型材表面處理過程中出現橘皮現象的原因及解決方法 | 2020/07/11 | 下載 |
- 產品描述
- 產品推薦
- CAD下載
- 物理參數計算
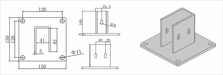
| 鋁型材防護圍欄安裝底座: | |
| 用途:安裝底座主要應用于鋁型材安全防護圍欄底部安裝固定,具有很高強度,是防護圍欄安裝常用的連接方式,產品規格是根據型材規格進行定做,表面經過鍍鋅處理; | |
|
|
|
(4040安裝底座安裝示意圖)
|
|
|
|
|
|
4040立柱安裝底座規格
|
|
|
產品規格
|
訂貨編號
|
|
P8-4040鍍鋅底座
|
ZC-D4040
|
|
|
|
|
|
|
4080立柱安裝底座
|
|
|
產品規格
|
訂貨編號
|
|
P8-4080鍍鋅底座
|
ZC-D4080
|
|
|
|
8080立柱安裝底座
|
|
|
產品規格
|
訂貨編號
|
|
P8-8080鍍鋅底座
|
ZC-D8080
|
| 安裝底座特點:防護圍欄安裝底座是根據鋁型材產品規格而開發的一款專用防護圍欄安裝底座,具有很高的強度,可打孔安裝或焊接; | |
APAS工業鋁型材簡易選型表: |
|
| 說明: | |
|
I. 圖中共有六個參數值: 變形量決定因素: 1.承受力F(N) 2.鋁型材長度L(mm) 3.承載力與鋁型材長度的交點 4.所選鋁型材慣性矩I(cm4) 5.從交點垂直延伸到底部的直線 6.不同承受方式的鋁型材變形量f(mm) |
|
|
II.可通過參數中的任意三個,查出另一個參
舉例:選用APAS-8-4080W鋁型材, |
|
|
|
APAS工業鋁型材受力變形量計算: |
||
| 在選用APAS工業鋁型材時,變形量將是一個重要的選擇依據,根據下列計算公式,很容易計算出鋁型材自重與受力的情況下所產生的變形量。 | ||
|
m 鋁型材線性密度(kg/cm3) F 載荷(N) L 鋁型材無支撐長度(mm) E 彈性模量(68600N/mm2) I 集合慣性(cm4) Z 載面慣性(cm3) g 9.81N/kgf f 變形量(mm) |
![]()
|
|
| * 靜載荷狀態下的鋁型材變形量計算: | ||
![]() ![]()
|
||
| * 無載荷狀態下的鋁型材變形量計算: | ||
![]() ![]()
|
||
| * 鋁型材最大允許彎曲應力:σmax<200N/m3 | ||
![]() ![]()
|
||
|
* 計算舉例: 選用APAS-10-4545鋁型材,長度L=500mm,載荷F=800N(1kgf=9.81N),兩端固定支撐 |
||
![]()
|
||

.jpg)
.jpg)
.jpg)
.jpg)

.jpg)











